![]() |
![]() |
![]() |
![]() |
![]() |
![]() |
|
|
![]() |
![]() |
![]() |
|
| Top left: speaker box. Top centre: PA harmonic filters. Bottom left: PA. Right: Relay-chain ATU. |
|
| L: MAIN Unit (note FPGA
& ADC heatsinks). RF BPF Units under MAIN Unit.
R: DIGI-SEL Units (top: Main). |
| IC-7610 RF FPGA IC. | IC-7610 VCXO clock. | |
|---|---|---|
![]() |
![]() |
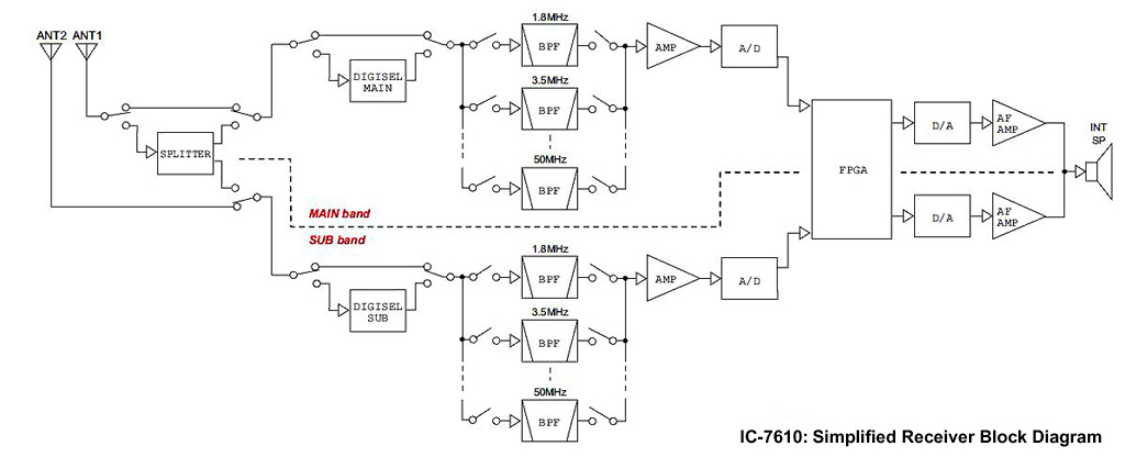
Direct-sampling/digital up-conversion HF/6m transceiver with two independent, identical receivers
MAIN and SUB receivers can operate independently on different bands and modes (emissions)
SUB receiver tuning knob available by plugging RC-28 controller into front-panel USB-A port
MAIN/SUB Tracking (simultaneous tuning) from main tuning knob (enabled by menu option)
Each receiver front end has dedicated ADC, ADC driver/preamp, 0-45 dB X 3 dB step attenuator, BPF group and Digi-Sel tracking preselector
Separate DAC/audio chains for MAIN and SUB receivers; binaural reception possible
Hardware circuitry for digital pre-distortion (DPD) linearization support already built in (feedback from external amplifier via ALC port or internally for barefoot IC-7610 operation).
Pre-distortion will be implemented via IC-7610 firmware V1.40 when IC-PW2 amplifier goes on sale.
Powerful ALTERA® RF FPGA performs digital down/up conversion, frequency-management and signal-processing tasks
Separate Lattice® Common FPGA performs signal-processing tasks
Separate AF/SQL controls and EXT SP jacks for MAIN and SUB receivers
Independent MAIN and SUB real-time FFT spectrum scope/waterfall displays with high dynamic range (100 dB)
Separate scope RBW (resolution bandwidth) and VBW (video bandwidth) adjustments in Spectrum Scope menu
Independent MAIN and SUB spectrum scope/waterfall displays(can be stacked L/R or MAIN above SUB)
Dual clock displays (UTC and local time)
Headphone left/right mix can be turned on or off
MULTI knob for easier operation (similar to IC-7300)
ANT1 and ANT2 ports with switched hybrid splitter for user-selectable dual-antenna (e.g. diversity) or Dual Watch configurations
RX ANT IN/OUT BNC break jacks switchable between MAIN and SUB receiver
10 MHz EXT REF I/O and Transverter I/O BNC jacks
NTP (Network Time Protocol) server connectivity (when IC-7610 is connected to Internet)
RF-FPGA has MAIN and SUB inputs (from ADC's) and outputs (to DAC's), and display data channel to display driver subsystem
CW keying waveform generation & shaping in FPGA to minimise latency
CW RX APF function with adjustable position (f0), width and AF gain
Low-noise, high-performance 16-bit ADC's (Linear Technology LTC2208I); sampling rate 122.88 MHz
Low-noise ADC driver with high gain-bandwidth product (Linear Technology LTC6409)
High-quality 24-bit, 192 kHz stereo audio codec encodes transmit audio and decodes Main and Sub receive audio
Digital up-conversion (DUC) exciter and 14-bit DAC (ISL5961IAZ) offer exceptionally low TX phase noise and clean transmitted signal
New low-phase-noise clock oscillator with Crystek ultra-low-noise VCXO provides high target RMDR of 105 dB (1 kHz offset), 110 dB (2 kHz offset) and excellent transmitter phase noise performance
Common low-noise power supply for the VCXO and FPGA helps assure ultra-low phase noise
100W MOSFET PA unit with fast T/R switching
High-speed relay-type auto-ATU with emergency mode to match highly-reactive antennas
Ethernet LAN port supports internal RS-BA1 server as in IC-7851, IC-7700 (FW V2.0 & higher), IC-7800 (FW V3.0 & higher)
NTP client functionon LAN via Ethernet port
LAN Output Select menu option for AF (baseband) or IF
Multiple memory functions
Two rear-panel USB-B ports (USB2 & USB3) for CAT control/PCM audio & I/Q baseband output (now supported in Firmware V1.20).
12 kHz final IF I/Q output via rear-panel USB 3.0 port (blue). Compatible with SDR software e.g. HDSDR
HDSDR and I/Q driver package downloadable on Icom Japan Support (Firmware & Drivers) page
Two front-panel USB-A ports for USB stick, mouse, RC-28 controller, keyboard etc.
SD card slot for data capture, record/playback, firmware upgrade etc.
Firmware upgrade via SD card or USB stick
External meter and keypad jacks on rear panel
7" (diagonal) high-definition touch-screen display
Screen image capture to SD card
Scope/waterfall windows can be stacked side-by-side or MAIN above SUB
Spectrum scope scrolling mode and per band REF LEVEL memory (Firmware V1.30)
Multi-purpose real-time audio scope and FFT audio spectrum analyzer
Rear-panel DVI-D port for external video display
External display resolution selectable via menu: 800X600 or 800X480
Large RAM reserve for future firmware expansion
Dimensions & weight: 340 (W) X 118 (H) X 277 (D) mm, 8.5 kg
Operating refinements:
Mute band by pressing corresponding volume knob
Mic DC bias can be disabled for dynamic mc
Keyer memories can use F1-F8 on keyboard
Can record and capture directly to USB drive or SD card
Adjustable independent beep tones for the main and sub bands from 500-2000Hz
| Parameter | IC-7610 | IC-7600 |
|---|---|---|
| Scope type | FFT | Swept |
| Bandwidth kHz | 5-1000 | 5-500 |
| Min. Resolution* | ~ 1 dot | ~ 20 dots |
| Minimum RBW | 20 Hz | ~ 200 Hz |
| Sweep speed | ~ 30 screens/sec. | ~ 4 screens/sec. |
| Display dynamic range | 100 dB | 80 dB |
| Screen display | Dual | Single |
| * 1 dot ~ -60 dBc BW of single carrier | ||
Note: All the above information was derived from published data per the links below, and is subject to change without notice.
Industry Canada Certification: 202D-386700, granted 17 November 2017.
RF Gain Management in a Direct-Sampling SDR
Implementing a Transmit Inhibit line on the IC-7610
Testing the Icom IC-7300 and IC-7610,
presented at APDXC 2018 (18 Nov. 2018)![]()
IC-7610 Firmware, Drivers & USB I/Q Support Page![]()
IC-7610 Instruction Manual/Guides Page![]()
IC-7610 Firmware V1.30, released 23 April 2021. V1.30 release notes.
Information
for the HDSDR Application Download![]()
RC-28 Firmware V1.02 (corrects inter-operation issue with IC-7610)
Icom
America Service Bulletin for ADC Heatsinks
My IC-7610 User Review & Test Report (including transverter port TX power output & phase noise )
ARRL IC-7610 Product Review (QST, October 2018, ARRL members only)
Rob Sherwood NC0B's IC-7610 Test Report
Rob Sherwood NC0B's IC-7610 Stew Perry Contest Report
Comparisons among Kenwood TS-990S, Icom IC-7300 and IC-7610, by Rob Sherwood NC0B
Icom Japan IC-7610 Product Page
(now includes Digital Pre-Distortion information)![]()
FB News
(Japan): Special IC-7610 Issue ![]()
Icom UK videos:
Overview of Icom IC-7610 SDR HF Transceiver
IC-7610 Block Diagram & Schematics
IC-7610 Product Brochures: US/Canada Europe
IC-7610 Technical Report Vol. 1
IC-7610 Technical Report Vol. 2
IC-7610 Technical Report Vol. 3
RS-BA1 Ver. 2 Manuals: Preparations Instruction Manual
Selected screenshots from a working IC-7610
Icom UK IC-7610 Release and Pricing Announcement
Icom IC-7610 Exhibition & Advance Presentation, Tokyo, 23 Dec. 2016
(courtesy JA7CSU)![]()
IC-7610 operation and DigiSel demos at
Tokyo Akihabara Icom Festival, 16 Mar. 2017![]()
QRZnow report on above event![]()
Copyright © 2017-2023 A. Farson VA7OJ/AB4OJ. All rights reserved. Images: contributors as noted.
Last updated: 11/23/2023